联系我们contact us
- 无锡海锐朗喷泉工程有限公司
- 手机:18861720686
- 联系人:张先生
- 电话:188-6172-0686
- 邮箱:1345450654@qq.com
- 地址:江苏省无锡市和桥镇
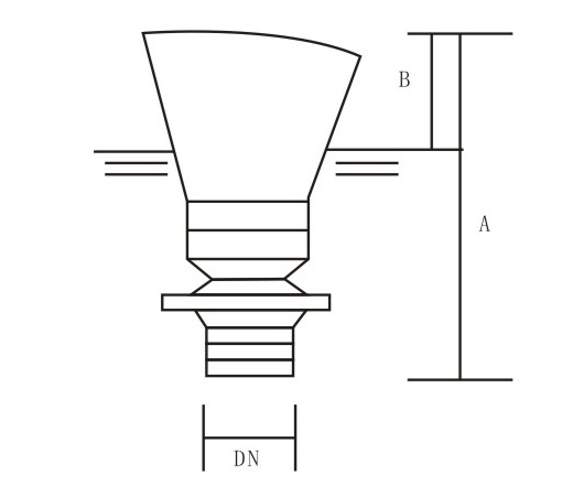
扁嘴喷头
来源:本站 发布时间:2022-01-20 访问量:5

扁嘴喷头喷出的水形美观,适用于各种场合的喷水池中,扁嘴喷头装有球型接头,可作垂直方向和倾斜15度安装。

| 喷头型号 | 主要性能 | 连接管 | 安装尺寸 (mm) | |||||
| 水压 (kpa) | 流量 (m³/h) | 喷高 (m) | 喷洒直径 DN(mm) | 直径 DN(mm) | 连接形式 | A | B | |
| BZ-304 | 30 40 | 2.5 3.5 | 0.5-1.0 | 0.6 1.0 | 25 | 内螺纹 | 140 | +40 |
| BZ-305 | 50 68 | 4.00 5.00 | 0.8-1.5 | 1.3 1.8 | 40 | 内螺纹 | 150 | +50 |
| QN-202 | 52 68 110 | 4.00 5.00 8.00 | 0.8-1.5 | 2.0 2.3 2.8 | 40 | 内螺纹 | 160 | +60 |
喷泉喷头:也成喷泉喷嘴全部采用铜或不锈钢制作,这样具有黄金的色彩或银光闪闪,喷头显得豪华气派。其工艺精巧美观,结构合理,性能高效节能。其中常用的有:KT可调直流喷头、BQ半球形喷头、QN牵牛花喷头、SB树冰形喷头、HZ花柱喷头、LH礼花喷头、YQ涌泉喷头、YZ玉柱喷头、XZ旋转喷头、XZ旋转蟹抓兰、BZ扇形喷头、WZ雾状喷头、JQ加气喷头、ZS直上喷头、DX定向水帘喷头、PG蒲公英喷头、KQ孔雀开屏喷头、HX环隙式喷头、GS高射喷头、SM水幕喷头、BM百米喷头、CP草坪喷头等产品系列。
无锡海锐朗喷泉工程有限公司是一家集产品研发、喷泉冷雾设备设计、安装、调试及培训为一体的大型综合性公司,我们欢迎您来电咨询,期待与您的合作!


打印页面
关闭窗口